SPEDIZIONE GRATUITA PER ORDINI SUPERIORI A 199€
Alzapaglioli in Acciaio Inox, Ottone o Nylon

Alzapagliolo in Acciaio Inox con Contro Piattello di Fermo 90 mm

€ 46,18 € 51,81 -11%
iva inclusa
Ordina entro le ore 12:00 per ricevere la merce entro il giorno 16/04/2026
quantità
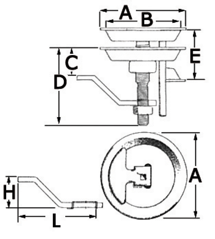
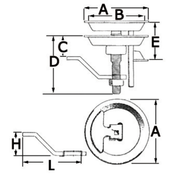
Codice Titolo H mm L mm C mm D mm E mm Ø A mm Ø B mm
38.426.86 Alzapagliolo in Acciaio Inox con Contro Piattello di Fermo 90 mm 22 71 30/80 88 2/49 90 70
In acciaio inox AISI 316 lucidato a specchio, completo di contro piattello di fermo. Nessuna vite a vista. Sistema di tiraggio tramite rotazione della maniglia, che permette di bloccare completamente il pagliolo, evitando qualsiasi vibrazione, completo di leva di fermo angolata + leva diritta + battuta.

Della stessa categoria

Email Newsletter

Iscriviti gratuitamente alla nostra newsletter
  • pagamenti